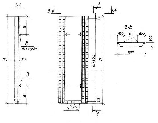
ПС 60.3-3к

Чертеж изделия:
Чертеж ПС 60.3-3к
Характеристики изделия:
ПараметрЗначение
Длина1970 мм
Ширина300 мм
Высота5980 мм
Масса7440 кг
Нормативный документСерия 3.901.1-14

ПС 60.3-3к   Панель стеновая доборная по Серии 3.901.1-14.

Маркировка

ПС - панель стеновая (доборная по высоте);

60 - длина стеновой панели в дм;

3 - толщина стеновой панели в дм;

3 - тип армирования;

к - вариант с клиновидным стыком.